M



Macchina astratta: Un linguaggio di programmazione, pur soggiacendo all'architettura John Von Neumann, trasforma un calcolatore in una macchina astratta, ossia le caratteristiche e le funzionalita' di tale macchina sono determinate dal software definito dal linguaggio. In altri termini il calcolatore, diversamente da altri strumenti, non avendo funzionalita' specifiche, senza le istruzioni impartite da un programma non e' utilizzabile in alcun modo. Il linguaggio di programmazione, quindi, rende il calcolatore utile e flessibile alle esigenze dell'utente, e per questo uno strumente molto potente.
Macchina virtuale: il sistema operativo puo' essere inteso come un allocatore di risorse. Il kernel assolve fondamentalmente a tre compiti principali: allocazione e controllo della memoria, dei dispositivi di I/O e attiva lo scheduling della CPU (cfr. multiprogrammazione). Questi compiti, essendo assolti dal sistema operativo (nucleo), che si interpone tra applicativi ed hardware, puo' offrire a ciascun processo sia un'astrazione dall'hardware (portabilita' dei programmi su piattaforme fisiche differenti; si pensi a Unix dove i processi considerano le periferiche come file. Cfr. driver), sia una pseudocontemporaneita' di elaborazione o pseudoreplica dell'hardware. Lo scheduling della CPU infatti puo' dare l'impressione a piu' utenti di utilizzare una propria CPU quando invece tutti ne utilizzano una sola. Il kernel inoltre offre ad ogni processo una propria memoria reale o virtuale (cfr. memoria virtuale, overlay).
Macintosh: E' il nome di una qualità di mele californiane. Il Macintosh di Apple è un computer nato dall'esperienza di Steve Jobs, Steve Wozniak e dai suoi collaboratori all'interno della Xerox. Jobs inizialmente lavorò su un computer prototipo denominato LISA. Nel gennaio 1984 lanciò il Mac, la prima piattaforma grafica di Apple, con riscontri significativi nel business dei PC (att. batterie per macintosh).
Macro: Con il termine MACRO si intende una sequenza di comandi (sono praticamente degli script) che automatizzano alcune operazioni che si devono ripetere. Per esempio le MACRO in VBA (Visual Basic for Application) che si possono scrivere nel pacchetto MS OFFICE non sono altro che codice ad ad alto livello con strutture di controllo, e sono un aggiornamento del sistema a macrofunzioni che si aveva fino alla versione 5.0 di MS Excel. Con le ultime versioni di MS OFFICE si possono scrivere veri e propri programmi in VBA.
Redatto da Angelo Cresta.
Mailbox: Casella postale generalmente messa a disposizione dal provider o dalle Universita' per raccogliere l'email dell'utente abbonato ad Internet.
Mailing list: I gruppi di discussione presenti in Internet (newsgroup), ci permettono di dare e ricevere informazioni su un determinato argomento. Ma esiste un altro metodo per far parte di un gruppo dove scambiarsi informazioni su precisi argomenti scelti dall'utente, attraverso semplici messaggi di posta elettronica. Alcune universita' o provider gestiscono le mailing list. Una mailing list e' definita da una lista di indirizzi email identificati da un unico indirizzo. La persona iscritta ad una mailing list quindi, se vuole aprire un dibattito o porre domande riguardanti p.e. l'HTML, invia un'email all'indirizzo di posta elettronica che rappresenta tutta la lista, ed automaticamente o attraverso l'intervento del moderatore, verra' rispedita a tutti i membri di quella mailing list. Ci sono pero' delle regole di comportamento da rispettare, che spesso vengono comunicate al nuovo iscritto tramite un messaggio email automatico subito dopo l'iscrizione. Con questo messaggio di solito vengono indicate le modalita' per cancellarsi dalla lista, su come ricevere le email degli iscritti, se una alla volta o in formato digest.
Il moderatore, se e' presente, e' l'addetto che controlla il corretto comportamento degli iscritti e del programma che gestisce la mailing list. Inoltre verifica che gli argomenti delle lettere spedite dagli utenti interessino quel particolare gruppo, altrimenti l'email potrebbe essere definita OT e probabilmente eliminata (il rimprovero del moderatore e' opzionale). Cosa significa OT?

OT: Off Topics, sono detti OT tutti gli argomenti non inerente ad un gruppo di discussione. Per esempio, un mio intervento e' OT quando parlo di modem in una mailing list che discute di HTML. L'abbreviazione OT viene utilizzata spesso nei newsgroup.

Per leggere le lettere degli iscritti e le eventuali risposte alle domande poste precedentemente sara' sufficiente effettuare il controllo della propria posta elettronica.


Mainboard: vedi Scheda madre.
Mainframe: I mainframe sono computer molto costosi che permettono agli utenti che vi accedono (centinaia o migliaia) di eseguire molti processi. Questi speciali computer sono molto veloci nell'elaborazione dei dati poiche' possono eseguire piu' processi in parallelo. I mainframe si distinguono dai supercomputer perche' anche se questi possono superare in velocita' i mainframe solitamente elaborano un solo processo alla volta.
MAME Logo MAME: Multiple Arcade Machine Emulator. Siete dei nostalgici e vorreste fare una partita sul vostro computer con un videogioco che vi ha entusiasmato in qualche bar o sala giochi negli anni '80? Con MAME e' possibile. Con questo emulatore potete per esempio giocare a Pacman, Bagman, Space Invaders, Gost'n'Goblins, Defender, Burger Time, Snake e moltissimi altri ancora, senza riscontrare alcuna differenza con la grafica e suoni di allora, a meno di un processore antiquato (dai 200MHz in su' non si dovrebbero riscontrare problemi di rallentamento). L'idea di creare questo emulatore e' nata nel 1997 da Nicola Salmoria. Oggi si contano oltre 100 collaboratori per realizzare e migliorare questo emulatore di arcade. MAME e le ROM (file per attivare i giochi) sono reperibili in Internet e sono disponibile per i seguenti sistemi: Macintosh, PC Windows, Unix, Amiga, and Acorn/RISC.
Qui a fianco l'icona animata del MAME riporta alcuni fra i piu' famosi giochi degli anni '80.
Marc Andresseen: vedi Andreessen, Marc
Maschera di sottorete: ing. Net Mask. Numero di 32 bit che stabilisce quali sono gli indirizzi IP raggruppati in un unica sottorete. Serve per distinguere quale parte dell'indirizzo identifica la sottorete e quale parte invece identifica le interfacce all'interno di una sottorete. Vedi Subnetting.
Masterizzazione: Atto di copia del contenuto di un CD-ROM su un'altro CD-ROM per mezzo di un masterizzatore (att. overmastering).
Masterizzatore: Dispositivo (hardware), periferica del calcolatore (p.e.PC), che esegue la copia di un CD-ROM.
MAU: Medium Attachment Unit. Vedi Transceiver.
MCIU: L'acronimo sta per Multiple Cycle Integer Unit, ed e' una delle unita' di execute del 604e e delle altre implementazioni multi-unita' del PowerPC. Non prevede un numero costante di stadi di execute, per cui non e' pipelinata. Nel 604e prevede 1 ciclo di clock per moltiplicazioni 16x32 bit, per i Move-To-Special-Purpose-Register (SPR) e per il post-update del registro indirizzo delle load e store con offset. Si occupa anche delle divisioni intere e delle moltiplicazioni 32x32 bit. Il motivo per cui e' stata assegnata all'update delle load/store ed ai Move-To-SPR e' rispettivamente per poter ultimare i load/store con post-update in 1 ciclo di clock usando 2 unita' e per non occupare una SCIU per un compito raro come un Move-To-SPR: le istruzioni processate dalla SCIU sono molto piu' frequenti, mediamente, e spesso l'MCIU e' libera, quindi viene usata per altri scopi, per aumentare il troughput. Come la SCIU, opera sui GPR.
Media Aritmetica: utile per la valutazione delle prestazioni dei programmi su macchine diverse e non per la valutazione delle macchine. La formula: ove Time i è l'Execution time di ciascun programma e n e il loro numero. Es: nella macchina A faccio girare 2 prg., P1 = 1 sec. e P2 = 1000 sec; nella macchina B facciamo girare gli stessi programmi con P1= 10 sec. e P2 =100 sec. La media aritmetica calcolata nella macchina A = 500,5 sec. mentre nella macchina B = 55 sec. Allora diremo che B è 500,5/55 = 9,1 volte più veloce di A ma solo per quei programmi non come macchine. Ma se utilizzo per 80% P2 = 100 sec, e il restante 20% P1 = 10 sec, applicherò la
Media Aritmetica Pesata assegnando a ciascun programma un fattore di peso Wi rispettivamente dello 0,8 e 0,2: 100 sec x 0,8 + 10 sec x 0,2 = 82 sec.
Media Geometrica: ove Execution Time ratio è l'Execution Time normalizzato in riferimento alla macchina. Es: dati due programmi P1 = 1 sec. e P2 = 1000 sec., la Media Geometrica è la radice quadrata di 1000 x 1 = 31,6 mentre con altri 2 programmi P1 = 100 sec e P2 = 10 sec. avrò la radice quadrata di 100 x 10 = 31,6. Ora questa media non preserva il tempo totale ma ci dice che per i programmi P1 e P2 le prestazioni delle macchine A e B sono le stesse.
MegaBit: o Mbit equivale 1.048.576 bit.
Attenzione: MB = Megabyte, Mb = Megabit.
MegaByte: Mega è un prefisso che moltiplica per 10^6 ciò che lo segue ma per il sistema binario nei calcolatore si moltiplica per 2^20 (=1.048.576) , es: 1 MB = (1024 Kilobyte) = 1.048.576 byte (= 8.388.608 bit).
Attenzione: MB = Megabyte, Mb = Megabit.
Memoria a nuclei di ferrite: Tipo di memoria inventato da J.Forrester al MIT nei primi anni Cinquanta. Le memorie a nuclei magnetici furono soppiantate completamente dalle memorie a transistor (MOS) solo nella seconda meta' degli anni '70 anche se alla IBM si utilizzavano memorie a transistor gia' negli anni Sessanta.
Memoria di massa: Memoria non volatile in cui l'informazione permanere, una volta scritta. Esempi di memorie di massa: Hard disk, CD-ROM, DVD, nastro magnetico. Un esempio di memoria volatile e' la RAM, poiche' in assenza di corrente elettrica perde le informazione contenute.
Memoria tampone: vedi buffer.
Memoria virtuale: Vedi Overlay.
Memoria volatile: si intende un tipo di memoria che perde il suo contenuto, una volta spento il computer. Vedi RAM.
Metadati: Parte di una base di dati contenente la descrizione della struttura con cui sono organizzati i dati (nome e attributi delle tabelle, definizione degli indici, eccetera).
Redatto da Marco Lizza
MFLOPS: Million FLOating-Point per Second, un milioni di operazioni in virgola mobile al secondo. E' un'unità di misura per la CPU avente meno condizioni del MIPS per il confronto dei calcolatori perchè si basa sulle operazionei anzichè sul numero di istruzioni ma è utile solo con quei programmi che sfruttano operazioni floating-point (FP). Raramente i compilatori utilizzano l'aritmetica FP. Due punti importanti:
- ci sono macchine che richiedono solo un'operazione per eseguire la divisione (MOTOROLA 68882) mentre la CRAY-2 per la stessa operazione deve eseguirne molte.
- un programma che deve svolgere un milione di somme FP è più veloce di un programma che deve svolgere un milione di divisioni FP.
Un metodo di calcolo FP, l'MFLOPS normalizzato, permette di risolvere il secondo punto per un equo confronto col dare più peso e velocità alle operazioni complesse.
MHz: Mhz = 1 milione di cicli al sec. o di Hertz (Hz). Nell'ambito dell'informatica questa unita di misura viene utilizzata per calcolare la velocità di clock delle CPU (v. clock rate), del bus della scheda madre, oppure la larghezza di banda nei mezzi di trasmissione quali doppino, fibre ottiche, cavi coassiali.
Un esperto fautore di BBS, il Sig. David Wolfe ci ha suggerito di paragonare i MHz ai Km/h e la grandezza dei Bus ad un autobus. I vecchi autobus (i processori 8086 e 8088) portavano 8 persone (bit) alla volta e si spostavano a 8 Km l'ora (MHz). Mentre gli autobus successivi (i 286) erano in grado di caricare 16 persone alla volta, viaggiando dai 12 ai 18 Km l'ora. Le macchine 386 hanno bus in grado di gestire 32 persone alla volta, a una velocità che va da 16 a 40 km l'ora.
Microprocessore: Da quando si è riusciti ad inserire la CPU dentro un chip si è cominciato a parlare del microprocessore. Inventato e realizzato all'interno della Intel da Gilbert Hyatt (1970), M.E.Hoff, Robert Noyee, Gordon Moore e da una valido gruppo di ricercatori nel 1968-69, questo circuito integrato può contenere da alcune migliaia ad un milione di transistor. Il primo microprocessore commerciale, il 4004 della Intel, è stato realizzato nel 1971 da Federico Faggin con 2300 transistor e della grandezza di 0.3 per 0.4 cm. E' possibile trovarlo non solo nei computer ma anche nelle lavatrici, telefonini cell., motori, termostati, freni ABS, nei biglietti d'auguri parlanti ecc.
Microsoft:
l'azienda software di Bill Gates, nata nel 1975. Nelle immagini si vede l'arrivo di Bill Gates seduto a bordo del motoscafo. Giunto a Venezia nei primi giorni di settembre del 1995, con l'occasione di presentare al pubblico l'acquisto dell'opera di Leonardo da Vinci denominata Codice Hammer, da il via alla distribuzione in Italia del sistema operativo Windows 95.
Il nome 'Microsoft' viene spesso abbreviato con MS, si pensi all'MSDOS

(74
KB)

(96 KB)

Middleware: software che si interpone tra due applicazioni (vd. software) e ne permette il passaggio dei dati. Un esempio di middleware e' quel programma che estrae informazioni da un database e che genera pagine Web dinamicamente dopo aver letto la richiesta fatta dagli utenti tramite form.
MIDI: Musical Instruments Digital Interface: standard per lo scambio dati di strumenti musicali elettronici. I file midi sono costituiti da una serie di comandi "Seleziona strumento 4", "Nota A on", "Nota A off" ecc. Il suono viene prodotto dal generatore (sintetizzatore) sonoro, in altri termini dalla scheda audio installata nel PC. Sara' proprio la scheda audio a determinarne la qualita'. I file midi sono disponibili anche in Internet ed hanno dimensioni ridottissime proprio per il fatto che contengono solo comandi e non musica (cfr. mp3).
MIME: Multi-purpose Internet Mail Extension, Estensione Multiuso di Posta Internet. Protocollo che permette il trasferimento di file binari come applicazioni, immagini, audio, fax, ecc. senza doverli convertire in file di testo come accade per il protocollo SMTP. E' definito nell'RFC 1341. Protocollo che utilizza il mimencode per codificare dati binari in formato base 64 utilizzando un sottoinsieme dei caratteri ASCII.
MIPS: Million instruction per second chiamato anche "native MIPS" per distinguerlo dalla collezione di CPU MIPS e dai programmi MIPS (files in assembly language) del software simulatore SPIM che li fa girare. MIPS è un unità di misura che ci informa su quante operazioni una CPU riesce ad eseguire in un secondo; e' anche questo un indice di velocita'
MIPS = Clock rate / (CPI x 1 milione) inversamente al
Execution time = Instruction count / MIPS x 1 milione. Unità di misura molto intuitiva che specifica la velocità di esecuzione di istruzioni ma non permette di dedurre proprietà generalizzate dei calcolatori perchè:
- non possiamo confrontare due calcolatori in MIPS con differenti instruction set
- una macchina non ha una velocità MIPS singola perchè varia dall'esecuzione dei prog.
- MIPS può variare inversamente alla Performance
Mirror: ing. mirror, specchio. Effettuare il mirror di un sito web significa riprodurne una copia e riproporla su uno o piu' domini diversi dall'originale (sito ufficiale), per permettere ai navigatori alternative di accesso. In questo modo piu' copie del sito, distribuite in Internet, riducono i rischi di congestione, alleggeriscono il carico di lavoro dei server web e di conseguenza permettono ai navigatori accessi piu' veloci. Con il mirror anche in caso di disastri si garantisce al navigatore la continuita' del servizio offerto dal sito originale (o viceversa, uno funge da sostituto all'altro), nonche' una possibile copia di backup per l'amministratore di sistema.
MIT: Massachusetts Institute of Technology. Noto istituto universitario e di ricerca degli USA.
ML: vedi SML.
mmu genera ed invia l'indirizzo fisico utilizzando un registro di rilocazione MMU: Memory Manangement Unit, unita' per la gestione della memoria. Componente hardware composta da uno o piu' chip che permette il mapping degli indirizzi logici (quelli generati dalla CPU), in indirizzi fisici, propri della memoria fisica (RAM). L'MMU si occupa del mapping tra le pagine virtuali (si veda Paginazione) e le pagine effettivamente presente nella memoria fisica (page frame).
Prima di proseguire con la spiegazione si legga memoria virtuale.
Supponiamo che non ci sia piu' spazio libero in memoria. Se la CPU invia un indirizzo logico all'MMU e questa, tramite il present/absent bit*, nota che tale indirizzo non cade in una pagina virtuale mappata nella memoria fisica, allora causa un trap (interrupt) al sistema operativo. Il sistema provvedera' ad eliminare una pagina dalla memoria fisica, che verra' scelta secondo un determinato algoritmo che dipende dal sistema operativo usato. In questo modo la CPU puo' trattare la memoria di massa come se fosse la memoria principale (RAM), allo stesso livello. Per un immagine dell'MMU integrata nella CPU si veda il processore 486, riquadro "386 microprocessor memory mamangement and paging unit"

(*)L'MMU nella tabella delle pagine dispone del present/absent bit, bit posto a 1 se la pagina virtuale e' mappata, 0 altrimenti.


MMX: Intel, nel 1997, introduce il Pentium MMX. La sigla MMX indica l'insieme di 57 nuove istruzioni per aumentare le performance del processore Pentium nel software ludico-multimediale. La tecnologia "3DNow!", sviluppata congiuntamente da AMD, Cyrix e IDT e' la versione floating point delle istruzioni MMX. Vedi anche PowerPC.
MNP: Microcom Networking Protocol, metodo di trasmissione dell'azienda Microcom. Complessivamente sono disponibili dieci classi MNP parzialmente compatibili verso l'alto. MNP 1 fino a MNP 4 sono semplici protocolli di trasmissione dati; a partire da MNP 5 i dati vengono anche compressi. Esempio: un modem che trasmette a 9600 bps con il protocollo MNP della classe 5 puo' trasferire il doppio di dati ossia 19.200 bps. Probabilmente la classe per la trasmissione viene stabilita in fase di handshaking.
Mod-chip: Chip modificato che permette il funzionamento di CD-ROM masterizzati per la Playstation (PSX).
Modem: MODulatore-DEModulatore. Apparecchio per la trasmissione e ricezione seriale in forma analogica anche a lunga distanza di informazioni in formato digitale*. Attualmente la maggior parte dei modem esistenti hanno la funzione di comunicare tramite linea telefonica e questi si dividono in modem esterni (collegati al PC tramite un cavo seriale) e modem interni (costituiti da una scheda all'interno del computer). Mentre originariamente i modem sono stati inventati per comunicare a grandi distanze tramite onde radio (vedi anche Hertz, un po' di storia), attualmente questa funzione e' quasi scomparsa, sia per la grande diffusione della rete telefonica, sia per il notevole intasamento delle bande elettromagnetiche adatte alla tasmissione radio, sia per i problemi intrinseci della trasmissione di questo tipo. Infatti tramite onde radio si hanno alte probabilita' di disturbo (diafonia) e conseguente necessita' di utilizzazione di codici di trasmissione speciali, autocorreggenti per esempio, algoritmi di controllo complessi e hardware tecnologicamente elevato. In ogni caso, dato il genere di problemi, non permettono sicuramente velocita' di comunicazione particolarmente elevate. Un esempio di modem di questo tipo, comunque, e' costituito dai sistemi di comunicazione digitale con i satelliti e soprattutto con sonde spaziali. I modem sono full duplex (trasmissione e ricezione contemporaneamente) ma, siccome i PC sono half duplex, due personal computer possono comunicare tra loro solo in half duplex.
Velocita' di comunicazione: riguardo ai modem utilizzati per la comunicazione tramite PC su linea telefonica analogica (non ISDN o ADSL, per intendersi), si possono elevare le seguenti osservazioni: La linea telefonica e' di tipo analogico ed ha una banda passante di circa 3 KHz (da 300 Hz a 3300 Hz), di conseguenza, per la teoria del campionamento di Shannon, la massima frequenza di un segnale digitale che puo' essere trasmesso e ricostruito fedelmente all'arrivo e' di 1500 Hz. Poiche' la banda passante attuale e' ancora quella e la teoria del campionamento non e' cambiata, per aumentare la velocitaà di comunicazione il modem deve utilizzare moltissimi accorgimenti principalmente di tipo matematico, ma anche come algoritmi e tecnologia: infatti, per esempio, sono stati studiati moltissimi tipi di modulazione oltre alle classiche modulazioni di ampiezza e di frequenza della portante (carrier): attualmente la modulazione di fase e' il tipo di modulazione piu utilizzato in quanto assicura anche una maggiore fedelta' alle lunghe distanze. La comunicazione, poi, non e' piu' di tipo binario ma i segnali sono "multilivello" (cioe' possono assumere piu' di 2 stati, avvicinandosi in questo, concettualmente, all'analogico). Inoltre i dati vengono sempre compressi in pacchetti prima di essere spediti, e a tale scopo sono stati elaborati molti algoritmi di compressione/decompressione in tempo reale: dal punto di vista del PC, infatti, questo complicato processo e' completamente trasparente. Utilizzando questo insieme di processi e' possibile riuscire a comunicare alla velocita' di 56 Kbps (corrispondenti a 56 KHz, ma che richiederebbero una banda passante di oltre 100 KHz) su linee telefoniche che permettono una banda passante di 3 KHz! Siccome comunque con l'avanzare della tecnologia e con l'avvento di Internet anche la velocita' di 56 Kbps risulta assolutamente insufficiente, si stanno realizzando linee telefoniche digitali a larga banda passante, quali ISDN o la piu' moderna ADSL, che utilizzano come mezzo di comunicazione non piu' cavi elettrici (doppino) ma fibre ottiche.
* A causa dell'evoluzione tecnologica di questi ultimi anni, che ha portato alla realizzazione di reti di comunicazione digitali estremamente estese (ISDN, ADSL) la definizione di modem dovrebbe essere leggermente modificata, in quanto vengono a mancare la moduazione e la conseguente demodulazione, cioe' i processi di interfacciamento tra rete digitale ed analogica, e quindi esso diventa, concettualmente, estremamente simile ad una scheda di rete. Cfr. Introduzione al baud.
Redatto da Marco Steccanella

Ecco la spiegazione delle piu' comuni spie luminose di un modem:

  • MR = Modem Ready, modem pronto per essere utilizzato.
  • CD (DCD)= Carrier Detect, il modem ha individuato la portante (vedi Carrier), significa che puo' comunicare con il modem remoto.
  • OH = Off Hook, il modem utilizza la linea telefonica.
  • RD = Receive Data, il modem riceve dati provenienti dal modem remoto.
  • SD (o TD) = Send Data, il modem invia dati al modem remoto.

    Standard
    CCITT
    bps baud Modulazione
    della portante
    Caratteristiche Per una corretta lettura della tab.
    <--allargare al max. il browser-->
    V.21
    V.22
    V.22bis
    V.23
    V.26
    V.27
    V.29
    V.32
    V.32bis
    V.33
    V.34
    V.34bis
    V.90
    200/300
    1200/600
    2400/1200
    1200/600
    2400
    4800
    9600/7200
    9600/4800
    14400
    14400
    28800
    33600
    56000
    200/300
    600
    600
    1200
    1200
    1600
    2400
    2400
    2400
    2400
    3200
    ?
    ?
    FM (FSK)
    4-PhDM
    16-QAM
    FM
    4-PhDM
    8-PhDM
    16-QAM
    32-QAM
    128-QAM
    128-QAM
    960-QAM
    ?
    ?
    Full Duplex, Switched network
    Full Duplex, Switched network, Fixed connection
    Full Duplex, Switched network, Fixed connection
    Half Duplex, Switched network, Fixed connection
    Half Duplex, Fixed connection
    Half Duplex, Fixed connection
    Half Duplex, Fixed connection
    Full Duplex, Switched network, Fixed connection
    Full Duplex, Switched network, Fixed connection
    Half Duplex, Fixed connection
    Full Duplex, Switched network, Fixed connection
    Full Duplex, Switched network
    ?

    Ecco come appare un tipico
    modem all'opera.


    Monitor: vedi risoluzione.
    Morse: L'americano Samuel Finley Breese Morse (1791-1872) inventa il telegrafo e un alfabeto per comunicare con segnali elettromagnetici. Tale alfabeto definito dalla combinazione di punti e tratti diventera' un modello del linguaggio binario.
    Mosaic: E' stato il primo e il piu' diffuso navigatore grafico per WWW, creato dal Marc Andreessen e co. Sviluppato per molte piattaforme tra le quali Windows, Amiga, X-Windows e Macintosh.
    MOTD: ing. Message Of The Day, messaggio del giorno. Con l'acronimo MOTD si indica un messaggio di benvenuto. Usualmente questo e' utilizzato per dare il benvenuto all'utente al momento dell'utilizzo di un servizio (tipicamente reso disponibile da un server). Redatto da Marco Lizza
    Motore di ricerca: ing. search engine. Un programma che ricerca parole chiave in file e documenti su World Wide Web, newsgroup, Gopher archivi FTP. Alcuni motori di ricerca vengono utilizzati per un unico sito Web, come i motori di ricerca dedicati (vedi DizSearch, il motore di ricerca del Dizionario Informatico); altri eseguono ricerche su molti siti, utilizzando degli agenti per raccogliere elenchi di file e documenti disponibili e memorizzarli in database (basi di dati) in cui l'utente puo' eseguire ricerche usando parole chiave (keyword).
    Redatto da Michele Scapicchio
    MOUS: Microsoft Office User Specialist, qualifica che attesta le proprie capacita' in ambiente Microsoft Office 97 e 2000. Prevede 3 livelli: Core, Expert e Master. Per ottenere la certificazione di livello Core e' necessario superare un test su uno dei seguenti software: MS Word 2000 (software per la videoscrittura), MS Excel 2000 (software la realizzazionei di fogli elettronici), MS PowerPoint 2000 (software per la realizzazione di lucidi per presentazioni), MS Access 2000 (software per la realizzazione di basi di dati), MS Outlook 2000 (software di posta elettronica). Per MS, vedi MicroSoft.
    Per quella di livello Expert occorre superare un esame su MS Word 2000 o MS Excel 2000 ma di difficolta' superiore a quelli di livello Core. Master, invece, si diventa superando 2 esami expert + 3 esami Core. E' prevista, inoltre, la possibilità di diventare Microsoft MOUS Authorized Instructor. Per potere accedere al programma di certificazione MOUS AI sono richiesti ai candidati alcuni prerequisiti, come l'acquisizione della qualifica di MOUS MASTER, e la partecipazione ad un Corso di Certificazione Trainer (CCT). Vedi anche ECDL, ICDL.
    Redatto da Michele Scapicchio
    mp3: abbreviazione di Mpeg1 Layer 3, formato che comprime file wav fino al 90%. Si puo' comprimere il suono mantenendo la stessa qualita' di un CD audio se in fase di codifica del file wav si adotta un campionamento opportuno (per la musica 44KHz). Puo' comprimere maggiormente ma non garantisce la stessa qualita' sonora dell'file originale (lossy). Aziende come la Diamond producono dispositivi simili a walkman, capaci di memorizzare fino a 20 di file compressi in formato mp3 (musica). Il fatto che i brani musicali siano reperibili in Internet sembra creare non pochi problemi alle case discografiche. I nuovi "walkman", che memorizzano brani musicali in formato digitale, sono disponibili in Italia dal 1999.
    MPEG: Motion Picture Experts Group : standard di compressione per le immagini in movimento, che riduce il volume delle informazioni contenute nelle immagini e quindi la memoria per immagazzinarle. Questo standard di compressione si distingue in MPEG 1 ed MPEG 2. L'MPEG 1 è quello adatto al multimedia, con una risoluzione di 352 x 288 pixel a 25 fotogrammi al secondo e 24 bit di risoluzione colore con un una velocità di trasmissione dati da 1.5 a 5 Mbit/s. L'MPEG 2 è lo standard per il VOD, per il broadcast con una risoluzione di 768 x 576 punti con una trasmissione da 5 a 15 Mbit(=quasi 2 Mb). Non registra singoli fotogrammi ma le variazioni tra un fotogramma e il successivo. Per rendersene conto si faccia attenzione alle immagini prodotte in un filmato DVD.
    MPR: Raccomandazione a cui si devono uniformare i costruttori dei monitor, per l'emissione di radiazioni elettromegnetiche quali raggi infrarossi e ultravioletti. MPR I analizza le frequenze comprese tra 1 e 400 KHz mentre MPR II oltre queste analizza anche quelle fino a 5 Hz.
    MPU: MicroProcessing Unit, sigla del microprocessore.
    MS-DOS: Nel 1980 Tim Paterson e Bill Gates crearono il loro sistema operativo, l'MS-DOS (Microsoft Disk Operating System) inizialmente per i microprocessori della Intel a 8-16 bit (v. 8088 e 286). Successivamente e' divenuto il sistema operativo standard dei computer IBM e compatibili.
    C r o n o l o g i a    M S D O S
    versione data di rilascio introduzioni
    1.0 agosto 1981
    2.0 agosto 1983 aggiunta comandi, nuove funzioni prese da Unix
    3.0 agosto 1984 per PC con processori 80286
    3.1 novembre 1984 aggiunta supporto reti
    3.2 dicembre 1985 partizioni HD fino a 32 MB, floppy da 3,5" reti, comando per copia di intere directory con XCOPY
    3.3 aprile 1987 supporto floppy 3,5" da 1,44 MB, partizioni multiple da 32 MB
    4 (IBM) novembre 1988 supporto HD da 2 GB, correzione errori precedenti
    5 novembre 1991 interfaccia a menu, UNFORMAT, UNDELETE, risoluzione problemi per la gestione della memoria estesa
    6 novembre 1993 DoubleSpace per la compressione file, antivirus, utility per la deframmentazione dei file e l'ottimizzazione del HD
    L'ultima versione stand alone (non presente con Windows95) e' la 6.2.
    MSP: Message Store Provider. E' una particolare procedura che gestisce l'archiviazione ed il recupero di messaggi ed di altre informazioni per conto di utenti di applicazioni client. In questo ambito la struttura di immagazzinamento delle informazioni e' costituita da un sistema gerarchico detto "message store", suddiviso in livelli di cartelle, dette "folders holding messages", che sono di varia natura in funzione del tipo di informazione che devono accogliere. Non esistono limiti ai livelli contenuti nel sistema ne' al numero di sottocartelle. L'utente puo' accedere all'indice del "message store", visualizzarne la struttura ad albero, e quindi scegliere la cartella desiderata, utilizzando una finestra della sua interfaccia client che permette l'ordinamento, il filtraggio e ogni altra personalizzazione. L'uso di un sistema di questo tipo e' vario: dalla gestione della posta elettronica a quello dei gruppi di discussione pubblici, dall'organizzazione di mailing list a quella di BBS. L'esempio classico di Message Store Provider e' costituito dai vari mailreaders presenti sul mercato.
    Redatto da Enrico Maria Biancarelli.
    MSS: Maximum Segment Size, unita' di trasferimento del TCP modificabile tramite software (PC, Macintosh ecc.) e compresa tra 65535 e 556 byte (536 + 20 byte di header TCP), il minimo supportato da tutti gli host in Internet. TCP comunque non puo' superare il limite di 65535 byte perche' e' il massimo payload che l'IP possa sostenere. Comunque conviene ridurre il sigment size poiche' al Livello Network si deve rispettare l'MTU altrimenti i router potrebbero effettuare la frammentazione (vd.MTU) dei pacchetti.
    MTU: 1) Maximum Tranfer Unit. Grandezza massima di trasferimento dei pacchetti supportata da una rete (es: LAN) misurata spesso in byte o Kbyte. Solitamente l'MTU di una rete e' di 1500 byte in quanto e' la misura piu' adatta per reti differenti. L'MTU viene definito in fase di connessione ad Internet (setup del PPP? - LCP?) e comunque viene scelto quello di grandezza minore tra le entita' del Livello Network. Se i pacchetti sono troppo grandi per una rete, vengono frammentati dai router ma questo puo' causare overhead. Per evitare cio' conviene che il TCP crei segmenti (MSS) non troppo grandi.
    2) Magnetic Tape Unit, unita' a nastro magnetico.
    Multicast: invio di messaggi o di informazioni audio e video ad un gruppo di persone. Da non confondere con broadcast che significa inviare messaggi a tutta una rete.
    Multimedia: l'insieme di audio, video e dati, che per il computer non sono altro che bit.
    Multipler: moltiplicatore, vedi bus di sistema.
    Multiplexer: abbr. MUX. Il multiplexer o multiplexor e' una rete logica utilizzata per leggere una determinata cella di memoria, o piu' semplicemente selezionare un ingresso pittosto che un altro, viene chiamato anche Selettore in ingresso. La sua importanza e' vitale in macchine calcolatrici, dove le linee di comunicazione sono poche (bus di trasmissione) e sulle quali vanno smistati i dati provenienti dalle varie unita'. Puo' essere utilizzato per combinare diversi segnali in modo da trasmetterli su una singola linea di trasmissione (parallela - seriale). Eccone un semplice disegno che lo descrive (fig.1):

    fig. 1

    fig. 2
    Dove Yn sono le celle di memoria, e tramite S possiamo avere in uscita Z il contenuto delle celle desiderate. La cardinalita' di S e' m se le entrate Y sono 2m-1. Assieme all'entrata S possiamo avere anche un segnale E (enable) per controllarne il funzionamento: attivo, non attivo.
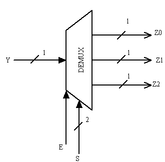
    Demultiplexer: abbr. DEMUX. E' una rete che permette di separare i segnali in entrata da una line di trasmissione, ed ha la funzionalita' inversa del MUX. Infatti e' possibile smistare su linee differenti i vari segnali in ingresso (vedi figura 2).
    Inverse Multiplexer: abbr.IMUX. Unita' funzionale capace di combinare 2 o piu' linee a bassa velocita' per ottenerne una piu' veloce. Questa tecnologia e' spesso usate nelle linee ISDN, infatti esistono prodotti hardware che permettono di utilizzare 2 o piu' linee ottenendo una connesione di velocita' pari alla somma delle singole linee.

    Redatto da Angelo Cresta


    Multiprogrammazione: esecuzione di piu' processi (job) in modo tale da tenere la CPU attiva' il piu' possibile. Se un sistema operativo non utilizzasse la multiprogrammazione, un processo (P1) in attesa di un qualche evento, terrebbe la CPU inattiva e ed allo stesso tempo impedirebbe ad altri processi (in stato di pronto) di essere eseguiti. Se invece tanti processi sono in stato di pronto, subentra un argomento correlato alla multiprogrammazione, quello riguardante lo scheduling della CPU.
    Multitasking: Tecnica del sistema operativo di dedicare la CPU a piu' processi (o piu' impropriamente programmi). Il multitasking si distingue in:
  • cooperativo: tecnica in cui viene condivisa la CPU per svolgere piu' compiti. Le applicazioni cedono il controllo alla CPU al momento opportuno, non sono costrette a farlo, ossia l'esecuzione continua fino a quando il processo non restituisce il controllo al sistema. Solo allora il sistema operativo potra' effettuare il Context Switch (cambio di contesto).
  • preemptive (preemptivo - a prelazione) la ripartizione dell'utilizzo della CPU viene gestita completamente dal sistema operativo. Non e' piu' il processo che decide quando rilasciare la CPU ma e' lo scheduler (componente del sistema operativo) che effettua lo scheduling della CPU. Nello scheduling ogni processo a rotazione potrebbe tenere occupata la CPU per un quanto di tempo fissato, per esempio 20 ms.

    Si riporta la risposta di Alvise Spano ad un lettore:

    > Vi ringrazio per avermi segnalato che il sistema multitasking dell'amiga
    > ha preceduto quello del Mac...
    
    il punto, a dir la verita' non e' che il multitasking dell'amiga ha
    preceduto quello del mac, ma che lo ha preceduto di almeno 10 anni:
    multitasking cooperative come quello del mac (fino alle ultimissime
    versioni o tuttora?) non e' certo paragonabile al preemptive dell'amigaos
    fin dalla prima versione dell'85, quando solo UNIX si azzardava ad avere
    uno scheduler timesharing.
    
    > > > Tra l'altro mi pare che nel dizionario manchi qualsiasi riferimento ai 
    > > > computer Amiga, che pure hanno avuto il loro momento di gloria. La 
    > > > questione non è solo "storica" ma, se è vero che è in uscita una nuova 
    > > > macchina, potrebbe diventare di grande interesse.
    
    l'amiga e' stato il computer che piu' ha modificato la tecnologia hardware
    e software da casa.
    nessuna macchina ha mai influenzato tanto la costruzione di schede
    grafiche e chipset: i concetti di modificazione del raster on-the-fly (in
    stato fetale nel VICII del Commodore 64 col raster interrupt),
    sincronizzazione delle operazioni col pennello elettronico e bit blitter
    per operazioni logiche veloci asincrone in memoria sono nate con il
    chipset Amiga quando ancora il resto del mondo vedeva solo 4 colori fissi.
    non mi dilungo oltre, ma se servono spiegazioni, fatemi sapere.
    

    Multithreading: detto di un sistema operativo o di un programma che gestisce piu' thread 'simultanemente'. Vedi thread.


    L TASTIERA N
    Il motore di ricerca del Dizionario Informaticov1.03

    Solo connessi ad Internet potete utilizzare DizSearch

    Termini mancanti/suggerimenti ?

    © Copyright 1997-2001 by Francesco Longo, flongo@dsi.unive.it

    Homepage Dizionario Informatico